Modern.az

Günəş enerjisi ilə işləyən noutbuk

Günəş enerjisi ilə işləyən noutbuk

16 Yanvar 2020, 23:31

"Microsoft" günəş enerjisi ilə işləyən noutbukun konseptini nümayiş etdirib.



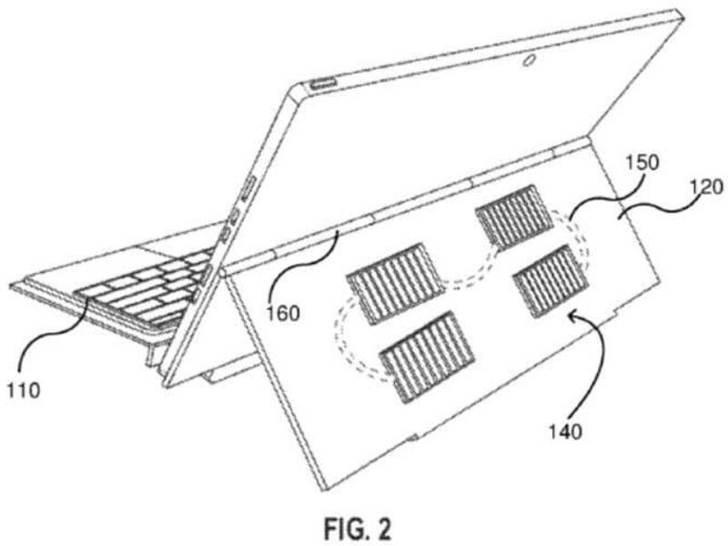
Modern.az  yerli mediaya istinadən xəbər verir ki, ixtira 2018-ci ilin ikinci yarısında ABŞ-ın Patent və Əmtəə Nişanları İdarəsinə təqdim edilib, amma yalnız 2020-ci ilin yanvarında təşkilatın saytında dərc edilib. Təsvir və sxemə əsasən, noutbukun arxa panelində qurğunun akkumulyatoru ilə birləşdirilən bir neçə fotoelement yerləşir.

Günəş panelləri noutbukun batareyasının şarjını avtonom işləmə zamanı (noutbuk elektrik şəbəkəsinə qoşulmadıqda) doldura biləcək. Patent ərizəsində dəqiqləşdirilir ki, yalnız günəş enerjisi deyil, həm də süni işıqla enerji doldurmaq mümkündür. Qatlanan konstruksiya sayəsində panellər lazım olduqda kompüterin korpusunda gizlədilə bilər. Sənəddə kompüteri alternativ enerji mənbələri vasitəsilə enerji doldurmaq üçün lazım olan vaxt göstərilməyib.

Whatsapp
Bizə yazın!
Keçid et